офис, 7.2 м2

РАД, Смирнова Вера

Показать телефон

Оставить заявку
ID: 2307327
Отправлено
В избранное
Адрес Василеостровский район, 7-я В.О. линия, д.8, литера Б Василеостровская
927 200 Р
128 778 руб. за м2
Характеристики

Площадь7.2 м2

Этажей в доме3

Описание от продавца

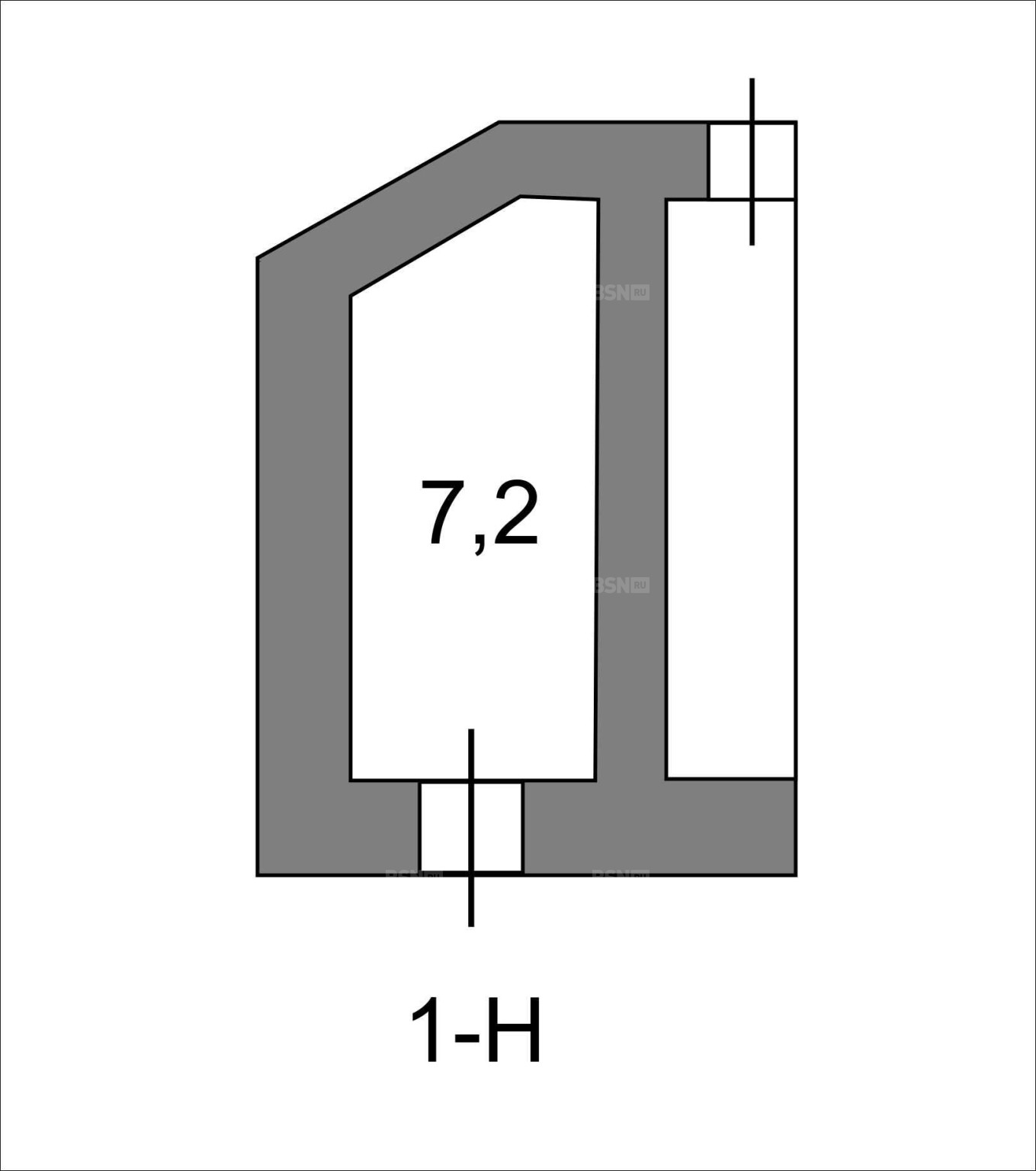
Код лота: 62C46C . Реализуется на торгах. Продается нежилое помещение свободного назначения в Василеостровском районе Санкт-Петербурга. Помещение расположено в трехэтажном здании 1917 года постройки. Окружение объекта составляет преимущественно жилая застройка. В ближайшем окружении располагаются школы, детские сады, магазины, кафе, рестораны, аптеки. Плотность застройки высокая. Неорганизованная парковка на ближайших улицах и внутриквартальных проездах (платная) . Интенсивность транспортных и пешеходных потоков непосредственно возле объекта средняя. Транспортная доступность отличная. Ближайшая станция метро "Василеостровская" расположена на расстоянии 780 м. Помещение находится в удовлетворительном состоянии. В настоящее время помещение не используется. Визуально перепланировки не выявлены. Площадь помещения: 7,2 кв. м Этаж: цокольный Высота: 2,3 м (заглубление 1,2 м) Окна: отсутствуют Вход: 1 отдельный со двора Коммуникации: Визуально выявлены элементы электроснабжения, отопления. Требуется заключение договоров с балансодержателями сетей! Возможное использование: кладовка Помещение реализуется с торгов по приватизации по поручению Комитета по управлению городским имуществом Правительства Санкт-Петербурга. Торги проводятся на электронной площадке Lot-Online. Просмотр помещения осуществляется в период приема заявок на участие в торгах и только в рабочее время. Заявку на организацию осмотра необходимо подавать заранее. https: //catalog. lot-online. ru/index. php?dispatch=products. view&product_id= [# #]
Инфраструктура
  • Кафе
  • Кинотеатры
  • Магазины
  • Медицина
  • Музеи
  • Образование
  • Парки
  • Спорт
Продажа офисов в Василеостровском районе
Ещё 4 фото
Ещё 6 фото
2-я В.О. линия, д.41, к.А Василеостровская
Все 78 объектов
Продажа офисов у метро Василеостровская
Ещё 4 фото
Ещё 6 фото
2-я В.О. линия, д.41, к.А Василеостровская
Ещё 5 фото
3-я В.О. линия, д.48, к.А Василеостровская
Все 10 объектов